OPS-20MS红外通讯测量系统采用红外编码通讯技术,保证了测头与接收器之间数据传输的速度、精度和可靠性要求;精密设计的机械结构和独特的制造工艺保证了测头重复定位精度不大于1μm;接收器通过线缆可向机床数控系统提供测量过程多种信号。这种测量系统可以应用于难以触测的加工场合,如深腔加工等,并且仍然可以应用于各种规格的加工中心、数控铣床等。
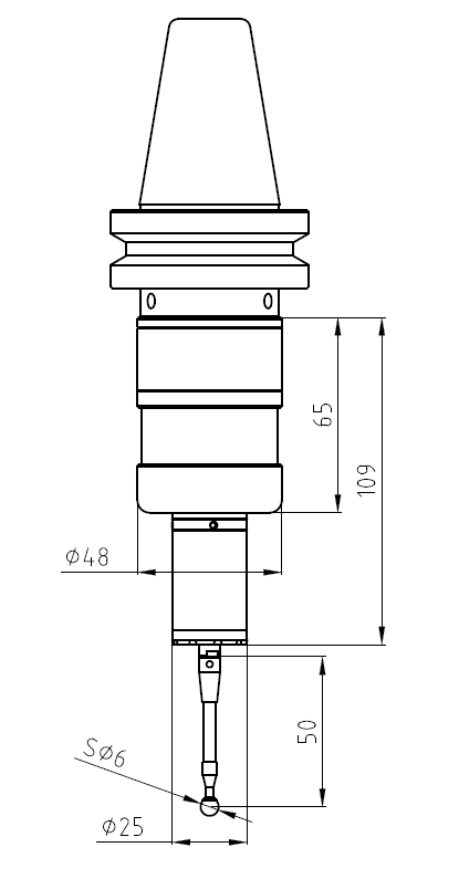
| OP500MS主体 |
| TP200触发测头 |
| 测头锥柄 |
| 测头加长杆(选配件,长度可选) |
| 8米长屏蔽的电缆 |
| 1.5不锈钢金属护套 |
| 万向调节功能的固定支架 |


![1766302545580577.png DTAZVZKYA}6YW]B9Y%9OQ_2.png](/uploadfile/image/20251221/1766302545580577.png)
| 测针的触发方向 | ±X,±Y,+Z |
| 测针的各向触发保护行程 | X-Y±12°, Z +5 mm |
| 测针任意单向重复触发精度(2σ) | ≤ 1 μm; |
| 测针Z向触发力 | 1000(g) |
| 测针X-Y平面触发力 | 100-160(g) |
| 红外信号的发射范围 | 5m |
| 新电池(5%使用率)的工作天数 | 140天 |
| 测头加长体可延长长度 | 50/100/150/200(mm)或定制 |
| 防护等级 | IP 68 |
| 红外信号接收/发射距离 | 5m |
| 输入电压 | 24V±10% (DC) |
| 输出负载电流 | 50mA |
| 电缆长度 | 8m |
| 不锈钢护套长度 | 1.5m |
| 防护等级 | IP 68 |